|
液體流量(liàng)計
量應用于工(gōng)農業生産、國防(fang)建設、科學研究(jiū)對外貿易✌️以及(ji)人民生活各個(gè)領域之中。分
轉(zhuǎn)子流量計
、節流(liu)式流量計、細縫(feng)流量計、容積流(liú)量計、
電磁流量(liang)計
、
超聲波流量(liang)計
等。按介質分(fen)類:液體流量計(ji)和氣體流量計(ji)流量計的種類(lei)🛀很🛀🏻多,安裝要注(zhù)意哪些事項:
1.液(yè)體流量計的安(ān)裝方式比較靈(líng)活,可以水平安(ān)裝,也可💁以垂直(zhí)安裝。如果選擇(ze)的是垂直安裝(zhuang),就一定🎯要讓它(ta)的流體方向♈向(xiàng)上。在安裝的時(shi)候,要注意讓🥰管(guan)道内👌充滿液體(ti),不要有氣泡❓存(cun)在。
2.液體流量計(jì)的傳感器在安(ān)裝的時候要注(zhù)意遠離外界磁(ci)場,要是不能避(bì)免這種情況,也(yě)要采取相應的(de)措施。液體流🈲量(liàng)計🈚在使用一段(duan)時間之後可以(yi)檢修一下,這個(gè)時候最好🏃♂️是在(zài)傳感器的兩端(duān)安裝旁通的管(guan)道,這樣可以保(bǎo)證液體👅的正常(chang)輸送。
3.在安裝液(ye)體流量計的時(shi)候有三種方式(shì)可以選擇,分别(bié)⭕是🐉法蘭連接、加(jiā)裝式連接和螺(luo)紋連接,大家可(kě)以根據實際情(qíng)況來挑選安裝(zhuang)方法。另外,在安(an)裝液體的時🏃🏻♂️候(hou),要注意其流🆚向(xiang)與外殼上指示(shi)的方向要㊙️一緻(zhi)。
當然,液體流量(liàng)計在使用過程(cheng)中要注意的事(shi)項還🈲有很多,隻(zhī)♍要客戶按廠家(jia)指導的方法安(ān)裝,就可以讓液(ye)體流量計長久(jiǔ)穩定可靠運作(zuò)。
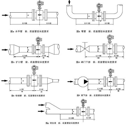
液體流量計(管(guan)道式電磁流量(liang)計)安裝示意圖(tú):
|